Ford patents convertible pickup truck
Jeep Gladiator appears different among all the pickup trucks available in the American market. As it comes with a removable roof and offers an open-air driving experience to its buyers.

In the competition, Ford is also coming up with a drop-top pickup truck. As reported, the automaker has filed a patent for the design. According to Ford, the removable panel should be easy to install and to remove.
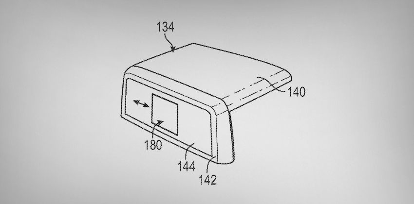
The patented design shows a series of latches attaching the roof to the windshield header and the body structure. To operate the convertible model, it requires a downward force to latch into place, and this creates a rearward force to lock against the body.

In this way, the new removable top will offer the advantage of a self-aligning mounting system, i.e. it can be operated just by assembling the latches physically. And the firm claims that a single person can handle the removable top.
The filled patent also explains the different versions of the roof which may include a sliding version or a fixed rear window. Moreover, the roof portion could be clear, and this panel could be separately removable.
The automaker also quoted that this fastening method can also work on the panels of cars, SUVs, vans and other types of vehicles that have a removable top assembly.

It is expected that the new Ford Bronco will be having this removable top, but in the patent images, the art appears as the Ford Ranger. Apart from this, the automaker is constantly working on the other appointments of the Ford Bronco as it has filed other patents with Bronco-looking vehicles.
Before this, the firm has announced that the new Ford Bronco will be equipped with Yakima accessories. Also, it is rumored that a smaller variant of the model may also come with the name Bronco Sport and probably based on the new Escape compact crossover.
The production-based prototypes of the new Ford Bronco have already come out and rumors are also spread that model will be unveiled early next year.
Also read: Ford Ranger and F-150 gets lift kit for better off-roading
Ford Car Models
You might also be interested in
- News
Ford Featured Cars
- Popular